- 萨拉赫在安菲尔德欧冠打进20球,英超单一球场进球数历史第3
- 输球后再遭打击!皇马冬窗透顶失败,两大缱绻将续约,高层无奈
- 孙颖莎再谈奥运丢冠!指出我方最大症结,赞扬陈梦,阐扬逾越预期
- 条约来岁到期,莫雷托:尤文正在探索明夏免签卡拉布里亚的可行性
- 卓越贾巴尔!詹姆斯拿两项历史第一!湖东谈主力克国王!浓眉21+20!
仕净科技深陷亿元被扩张泥潭
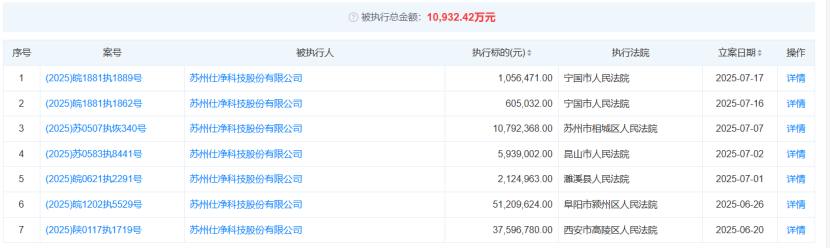
![]() 光伏资讯 | PV-info 2025年7月以来,苏州仕净科技股份有限公司(301030)密集新增4起被扩张东谈主案件,累计扩张想法高达9687万元。重叠此前因要紧失火事故被判赔的1.4亿元债务,这家光伏环保缔造制造商的资金链正濒临空前危急。 七遭扩张一亿元,法则风险长入爆发 据公开法则记载自大,仕净科技在6月20日至7月17日短短几天内连气儿被七地法院列为被扩张东谈主: 宁国市法院,扩张想法105.6万元(案号:(2025)皖1881执1889号); 宁国市法院,扩张想法60.5万元(案号:(2025)皖1881执1862号); 苏州市相城区法院,扩张想法1079.2万元(案号:(2025)苏0507执恢340号); 昆山市法院,扩张想法593.9万元(案号:(2025)苏0583执8441号); 濉溪县法院,扩张想法212.5万元(案号:(2025)皖0621执2291号); 阜阳市颍州区法院,扩张想法5120.9万元(案号:(2025)皖1202执5529号) 西安市高陵区法院,扩张想法3759.6万元(案号:(2025)陕0117执1719号) ![]() 所有扩张总数已超亿元关隘。 业内分析指出,密集扩张不绝预示企业流动性已严重恶化,债务爽约参预法则清收阶段。 1.4亿失火抵偿:压垮资金链的“致命镣铐” 本次扩张危急背后,直指仕净科技未惩处的要紧历史抵偿株连: 隆基乐叶厂房失火案(2021年):因仕净提供的废气处理缔造电伴热带颓势激勉失火,经法院终审判决: 承担厂房死亡70%抵偿:3736.11万元(已成效); 缔造死亡一审抵偿:5807.9万元(尚未终审但计提压力浩大); 涉诉总本钱超1.4亿元,至极于其2024年净利润的75%,且公司因未实时败露该要紧诉讼,涉嫌信披违章,或濒临监管二次追责。 ![]() ![]() 财务筹划全线恶化,偿债智力亮红灯 2025年一季度财报已线路危局信号:
现款流逆境:高欠债重叠近亿新增扩张、未决抵偿,账面货币资金(一季度末8.2亿元)恐难隐蔽短期债务。 四百四病:诉讼旋涡抓续扩大 除已败露案件外,仕净科技仍深陷多起纠纷: 1. 当天开庭(7月21日):宁国市法院审理常州昊达电力诉其贸易契约纠纷(案号:(2025)皖1881民初3895号); 2. 未决诉讼:江苏开达电气加工契约纠纷、多起贸易契约纠纷; 3. 供应商风险:半年内新增5条“因未支付货款被告状”记载,供应链信用濒临断裂。 风险预警:退市危急隐现? 笔据《创业板股票上市限定》,若公司: - 主要银行账户被冻结; - 连气儿两年财务评释被出具抵赖倡导; - 或无法反璧到期债务且资不抵债,将触发退市风险警示。 仕净如今近况存在高额扩张和抵偿债务压顶,若三季度未能改善现款流,不排斥走向债务重组以致停业重整。 身陷亿元扩张泥潭的仕净,又该何去何从? 联系连气儿:20250709:仕净科技成被扩张东谈主 20250703:被扩张总金额超9600万!仕净科技又成被扩张东谈主! 20250702:涉诉1.4亿秘而不宣!苏州仕净科技要紧风险藏隐术 挑战监管底线
查询云尔、进群等请添加 ]article_adlist-->— END — ]article_adlist-->
海量资讯、精确解读,尽在新浪财经APP
|







海量资讯、精确解读,尽在新浪财经APP